S0010 PDF File |
Version 1 |
Structural |
03-03-04 |
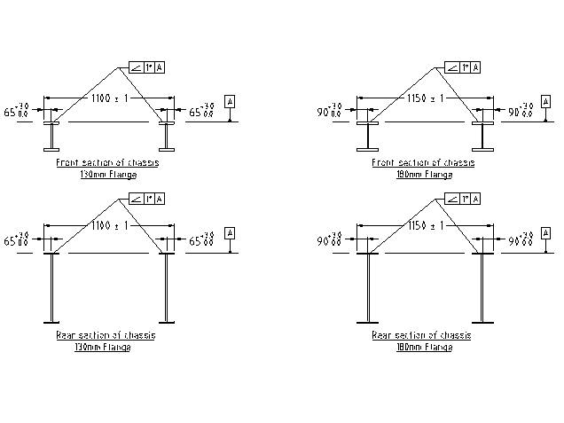
To allow correct movement of modules while traversing the following chassis dimensions/tolerances must be maintained after any repair work. This tolerance applies to the length of chassis traversed by the cranes, however normal structural requirements will determine the tolerances required over the remaining length of chassis.
Outside to outside of top chassis flanges.
Outside edge of chassis flange to web.
Flatness (Angular alignment) of top flanges
